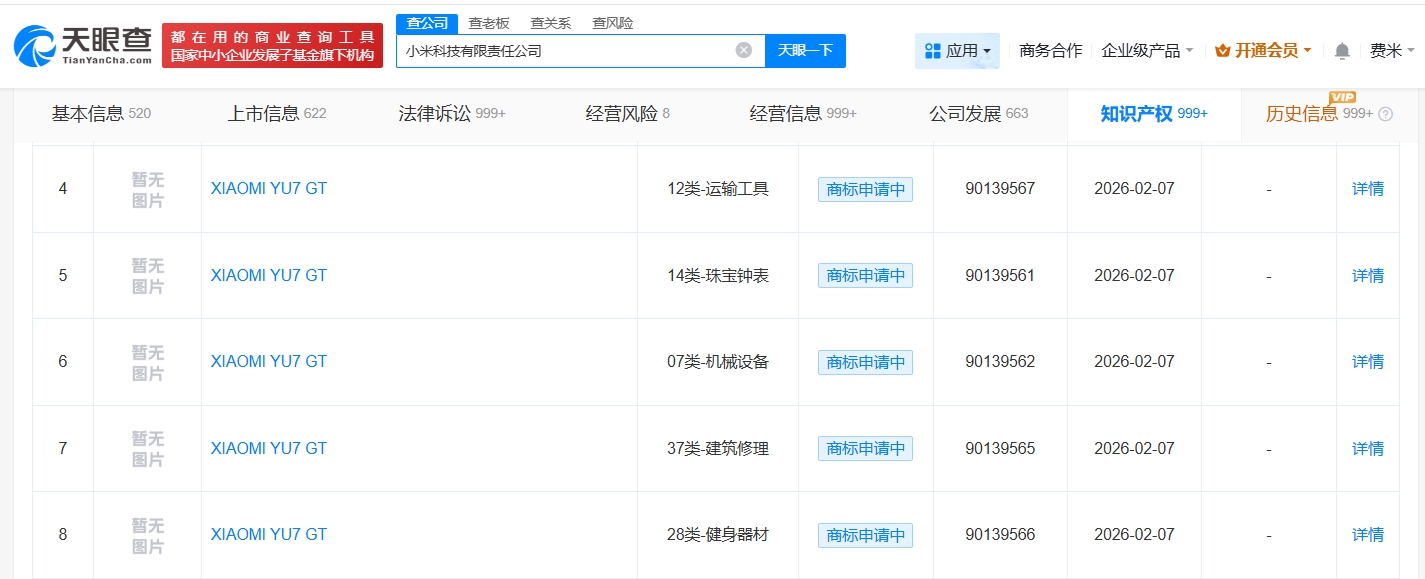
天眼查知識產權信息顯示,近日,小米科技有限責任公司申請注冊多枚“XIAOMI YU7 GT”商標,國際分類包括運輸工具、珠寶鐘表等,當前商標狀態均為等待實質審查。
小米科技有限責任公司成立于2010年3月,法定代表人為雷軍,注冊資本約14.8億人民幣,經營范圍包括通訊設備銷售、廚具衛具及日用雜品批發、廚具衛具及日用雜品零售等,由雷軍、劉德共同持股。
公開資料顯示,小米YU7 GT是小米汽車計劃推出的一款高性能純電SUV。



天眼查知識產權信息顯示,近日,小米科技有限責任公司申請注冊多枚“XIAOMI YU7 GT”商標,國際分類包括運輸工具、珠寶鐘表等,當前商標狀態均為等待實質審查。
小米科技有限責任公司成立于2010年3月,法定代表人為雷軍,注冊資本約14.8億人民幣,經營范圍包括通訊設備銷售、廚具衛具及日用雜品批發、廚具衛具及日用雜品零售等,由雷軍、劉德共同持股。
公開資料顯示,小米YU7 GT是小米汽車計劃推出的一款高性能純電SUV。


