天眼查App顯示,近日,中國數聯物流信息有限公司發生工商變更,新增中國保利集團有限公司、中國物流集團有限公司等為股東,同時注冊資本由4500萬人民幣增至100億人民幣,增幅約22122%。
該公司成立于1992年11月,法定代表人為張健,經營范圍包括第一類增值電信業務、第二類增值電信業務、互聯網信息服務等,現由招商局集團有限公司及上述新增股東等共同持股。



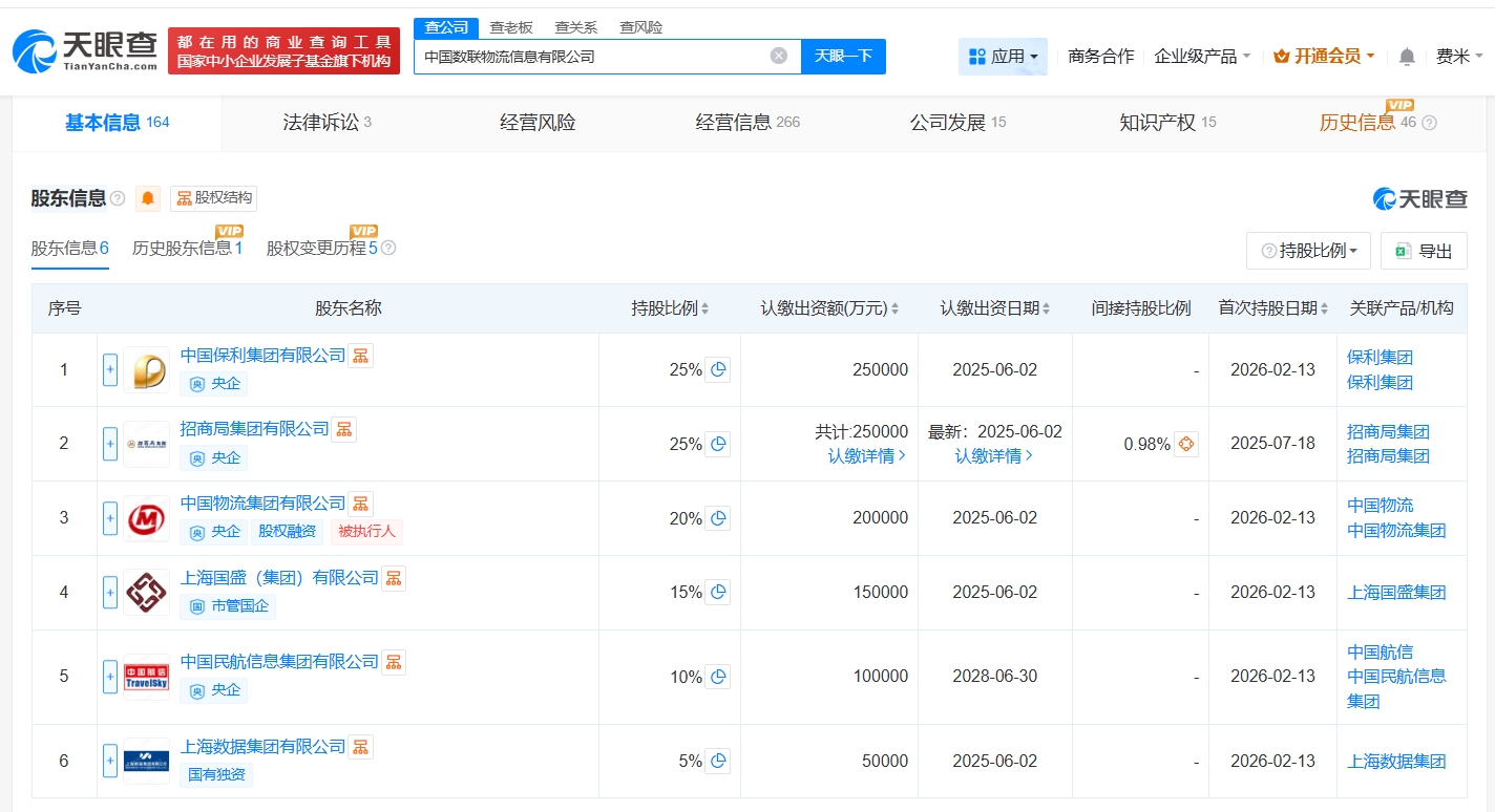
天眼查App顯示,近日,中國數聯物流信息有限公司發生工商變更,新增中國保利集團有限公司、中國物流集團有限公司等為股東,同時注冊資本由4500萬人民幣增至100億人民幣,增幅約22122%。
該公司成立于1992年11月,法定代表人為張健,經營范圍包括第一類增值電信業務、第二類增值電信業務、互聯網信息服務等,現由招商局集團有限公司及上述新增股東等共同持股。


