據報道,近日,網易游戲《燕云十六聲》新外觀“飛白成詩”被多位玩家指出存在擦邊問題,玩家指出,該服裝設計存在大量裸露元素,存在擦邊情況引起關注。
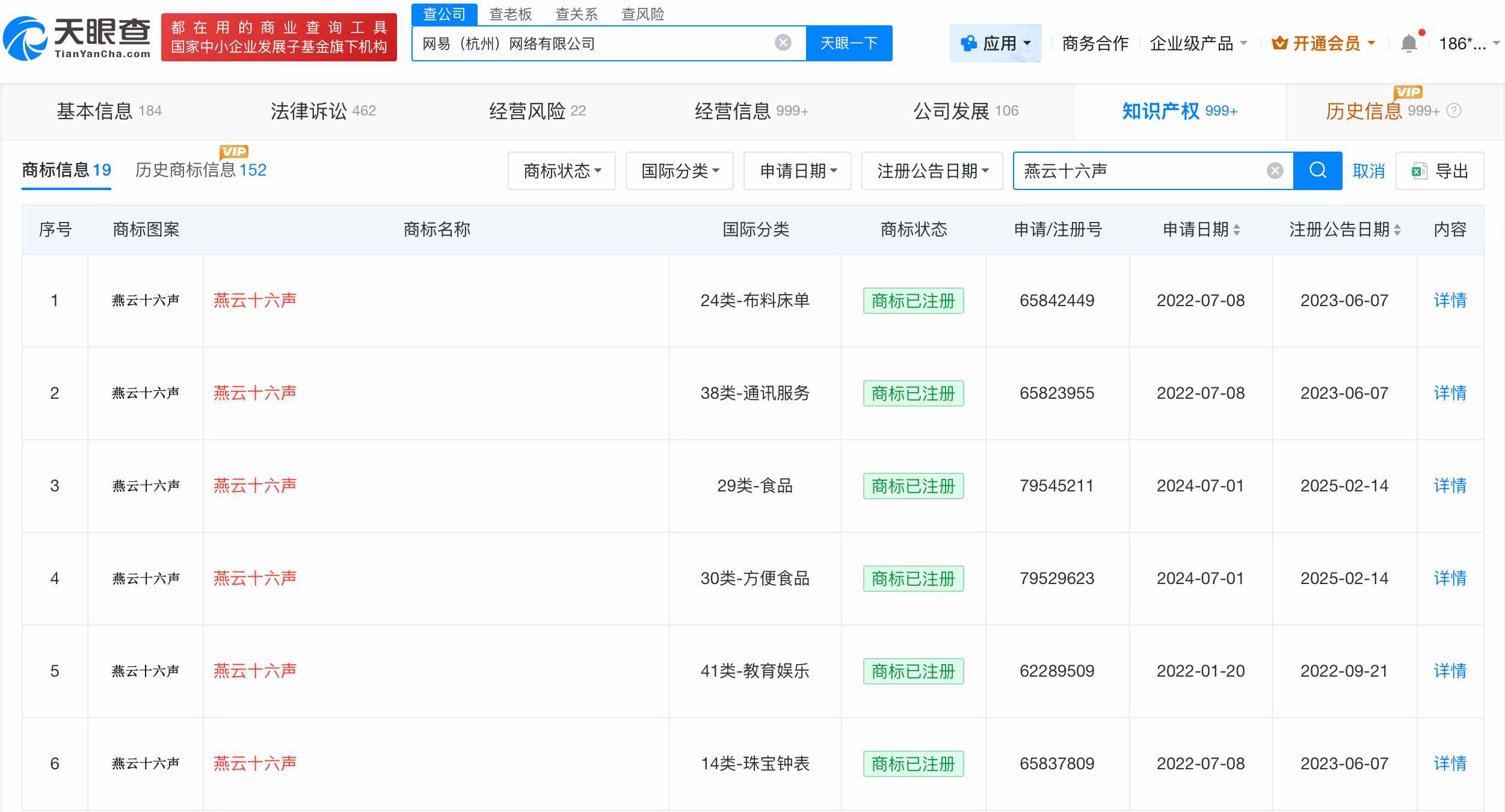
天眼查App顯示,網易(杭州)網絡有限公司已申請注冊“燕云十六聲”商標,國際分類涉及教育娛樂、方便食品等,當前商標均已成功注冊。

據報道,近日,網易游戲《燕云十六聲》新外觀“飛白成詩”被多位玩家指出存在擦邊問題,玩家指出,該服裝設計存在大量裸露元素,存在擦邊情況引起關注。
天眼查App顯示,網易(杭州)網絡有限公司已申請注冊“燕云十六聲”商標,國際分類涉及教育娛樂、方便食品等,當前商標均已成功注冊。
