天眼查工商信息顯示,近日,廣發銀行股份有限公司發生工商變更,白濤卸任董事長,由蔡希良接任,同時多位主要人員發生變更。
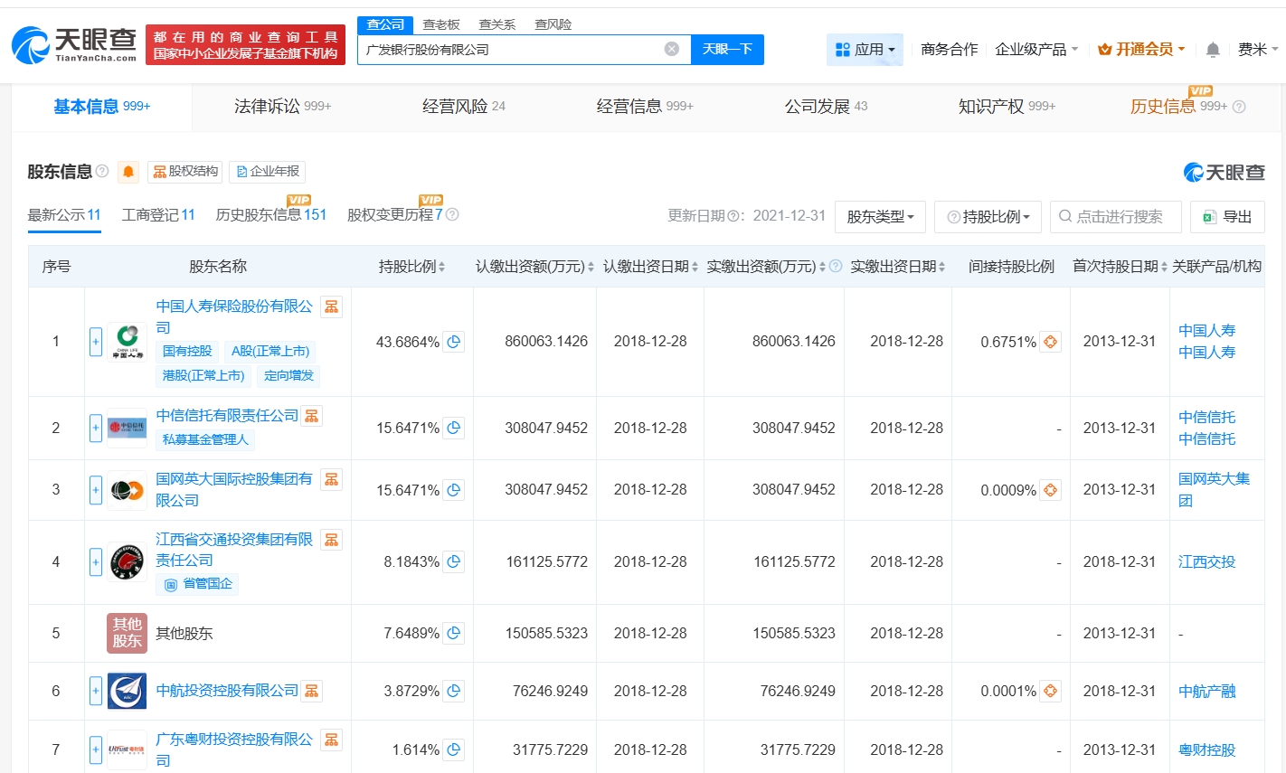
廣發銀行股份有限公司成立于1988年7月,法定代表人為王凱,注冊資本約217.9億人民幣,經營范圍包括銀行業務、外匯業務、證券投資基金托管等。股東信息顯示,該公司由中國人壽(601628)、中信信托有限責任公司、國網英大國際控股集團有限公司等共同持股。
據媒體報道,此前,廣發銀行公告稱,董事長白濤因工作變動辭任,由蔡希良接任。



天眼查工商信息顯示,近日,廣發銀行股份有限公司發生工商變更,白濤卸任董事長,由蔡希良接任,同時多位主要人員發生變更。
廣發銀行股份有限公司成立于1988年7月,法定代表人為王凱,注冊資本約217.9億人民幣,經營范圍包括銀行業務、外匯業務、證券投資基金托管等。股東信息顯示,該公司由中國人壽(601628)、中信信托有限責任公司、國網英大國際控股集團有限公司等共同持股。
據媒體報道,此前,廣發銀行公告稱,董事長白濤因工作變動辭任,由蔡希良接任。


