據媒體報道,1月15日,西貝董事長賈國龍在承認將“大規模關店”后,再發朋友圈為華杉發聲正名。他表示,只要西貝還在,自己還是跟華與華合作,華杉是個重情義的人,華與華是最好的企業咨詢公司。
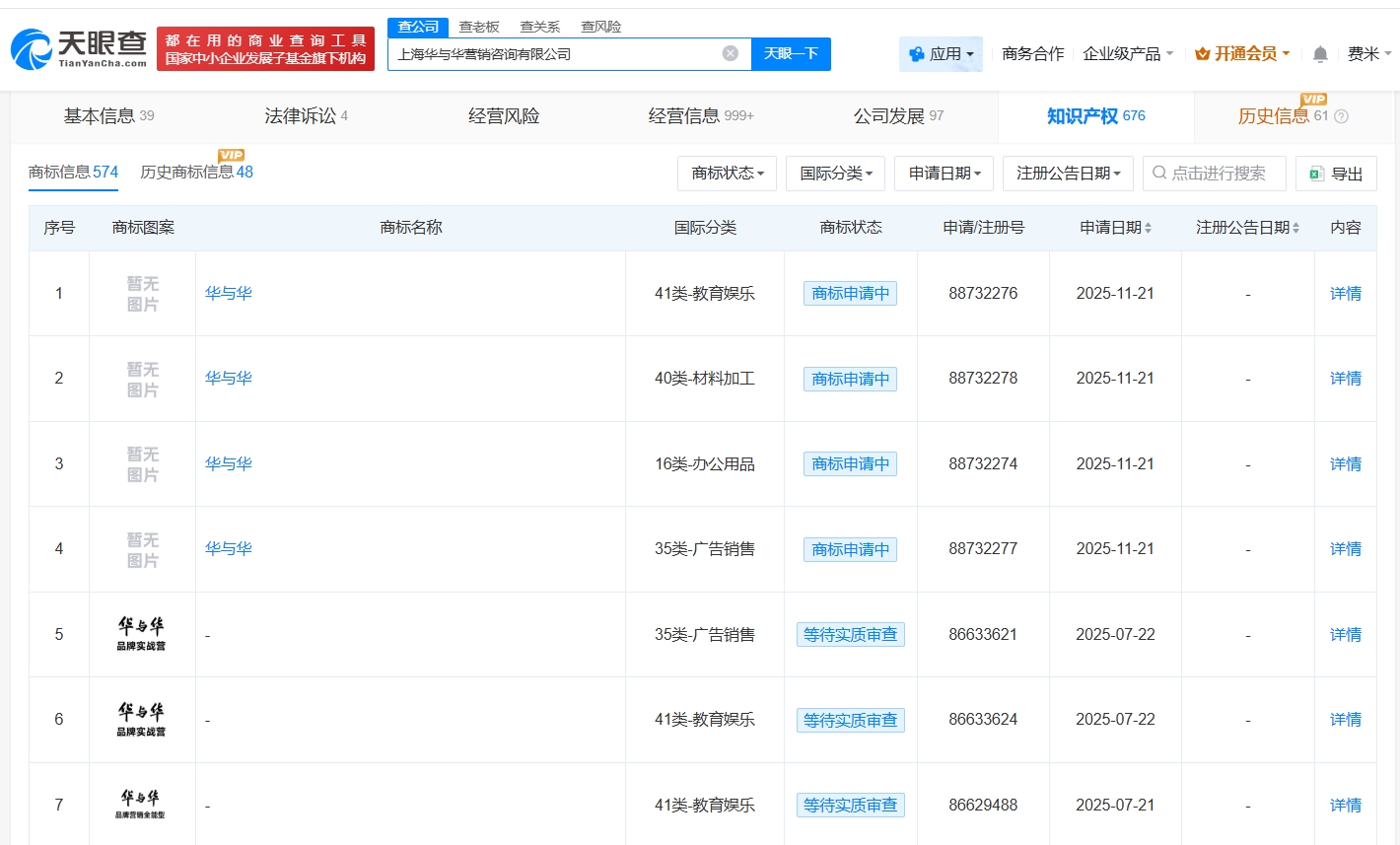
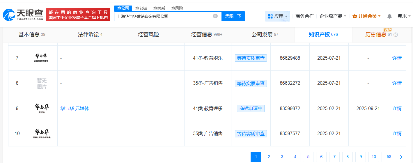
天眼查工商信息顯示,華與華關聯公司上海華與華營銷咨詢有限公司成立于2004年1月,法定代表人為華杉,注冊資本200萬人民幣,經營范圍包括企業管理咨詢、商務咨詢、企業形象策劃等。股東信息顯示,該公司由華楠、華杉共同持股。知識產權信息顯示,該公司去年申請注冊“華與華品牌營銷全能型”“華與華不騙人不貪心不偷懶”商標,國際分類為教育娛樂、廣告銷售,當前商標狀態均為等待實質審查。
西貝關聯公司內蒙古西貝餐飲集團有限公司成立于2017年10月,法定代表人為賈國龍,注冊資本約8990萬人民幣,經營范圍含餐飲服務、食品生產、食品互聯網銷售等,由北京西貝企業管理有限公司、賈國龍、呼和浩特市人生喜悅企業管理中心(有限合伙)等共同持股。值得一提的是,近日,該公司旗下呼和浩特市俊義企業管理有限公司新增一則簡易注銷公告,公告期為1月13日至2月2日。此外,自去年9月羅永浩在社交平臺吐槽西貝菜品“幾乎全是預制菜”后,該公司旗下貴州西貝萬家餐飲管理有限公司、廣州西貝餐飲有限公司、惠州莜面村高峰餐飲管理有限公司等十余家公司發生高管變更。
























