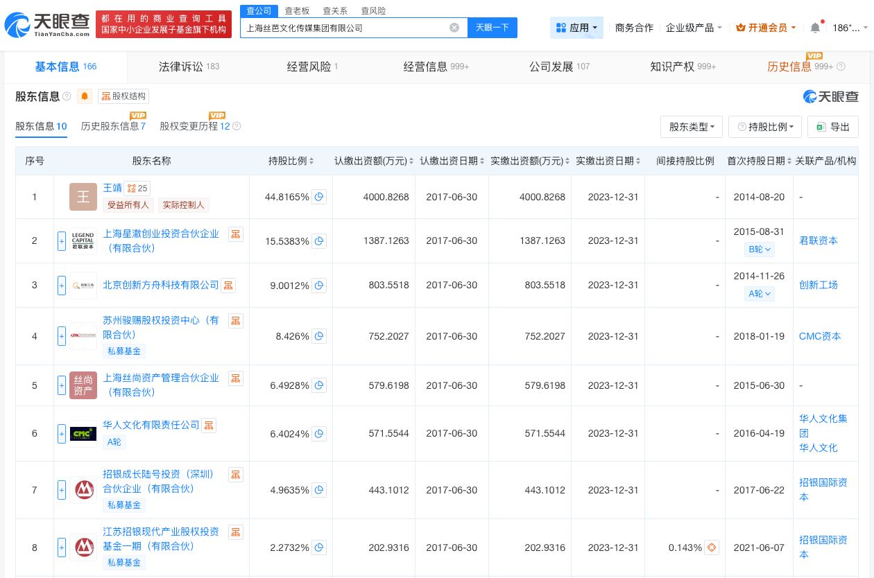
天眼查App顯示,上海絲芭文化傳媒集團有限公司成立于2010年5月,法定代表人為王靖,注冊資本約8927萬人民幣,經營范圍包括營業性演出、演出經紀、廣播電視節目制作經營等。股東信息顯示,該公司由王靖、上海星澈創業投資合伙企業(有限合伙)等共同持股。值得注意的是,2025年年報信息顯示,該公司參保人數僅為2人,而2024年年報參保人數為71人,減少69人。




天眼查App顯示,上海絲芭文化傳媒集團有限公司成立于2010年5月,法定代表人為王靖,注冊資本約8927萬人民幣,經營范圍包括營業性演出、演出經紀、廣播電視節目制作經營等。股東信息顯示,該公司由王靖、上海星澈創業投資合伙企業(有限合伙)等共同持股。值得注意的是,2025年年報信息顯示,該公司參保人數僅為2人,而2024年年報參保人數為71人,減少69人。



