據媒體報道,記者從市場監管總局召開的2025年綜合整治“內卷式”競爭十大重大案件發布會上了解到,全國市場監管部門共查處充電寶相關違法案件1169件,守牢產品質量安全底線。其中,深圳羅馬仕科技有限公司違反強制性認證規定及虛假宣傳較為典型。
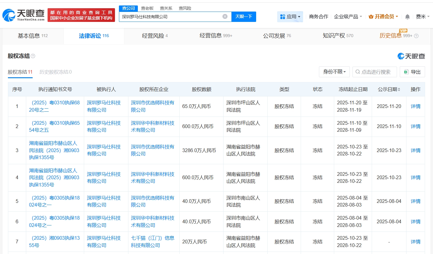
天眼查工商信息顯示,深圳羅馬仕科技有限公司成立于2012年3月,法定代表人為雷社杏,注冊資本600萬人民幣,經營范圍包括國內貿易、經營進出口業務、服裝的設計及銷售等。股東信息顯示,該公司由雷桂斌、雷燦伙共同持股。天眼風險信息顯示,去年12月,該公司曾因違反強制認證規定、虛假宣傳,被深圳市市場監督管理局南山監管局沒收違法所得1.2萬余元、罰款123萬元。此外,該公司旗下多家公司股權被凍結,包括深圳市優選師科技有限公司、深圳華中科新材料技術有限公司等。
























