據媒體報道,近日,雷軍公開感謝宇樹科技創始人王興興給了投資宇樹的機會,相關話題引發關注。
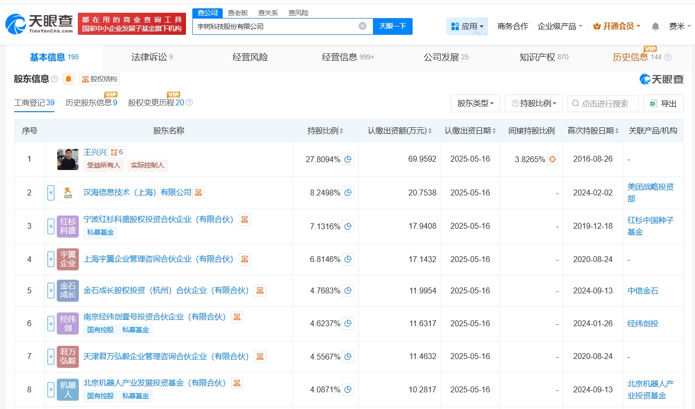
天眼查App顯示,宇樹科技股份有限公司成立于2016年8月,法定代表人為王興興,注冊資本約3.64億人民幣,經營范圍包括智能機器人的研發、工業機器人制造、服務消費機器人制造等。股東信息顯示,該公司由王興興、美團旗下漢海信息技術(上海)有限公司、雷軍名下順為資本關聯公司Astrend IV (Hong Kong) Alpha Limited等共同持股。



據媒體報道,近日,雷軍公開感謝宇樹科技創始人王興興給了投資宇樹的機會,相關話題引發關注。
天眼查App顯示,宇樹科技股份有限公司成立于2016年8月,法定代表人為王興興,注冊資本約3.64億人民幣,經營范圍包括智能機器人的研發、工業機器人制造、服務消費機器人制造等。股東信息顯示,該公司由王興興、美團旗下漢海信息技術(上海)有限公司、雷軍名下順為資本關聯公司Astrend IV (Hong Kong) Alpha Limited等共同持股。


